- Brisač - DA 118
Brisač od PTFE sa O-prstenom kao elementom za prednapon.
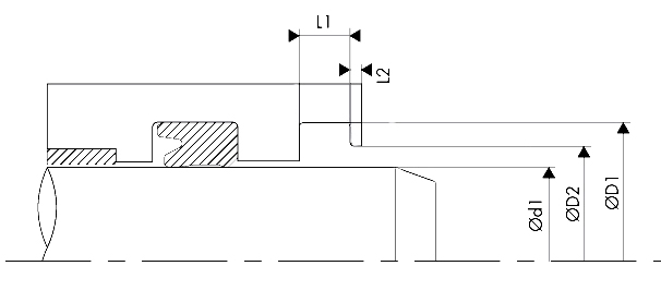
O-prsten služi za ravnomjerni kontaktni tlak. Brisač DA 118 odlikuju odlična kemijska i temperaturna postojanost.
Primarna upotreba
Krajnja granica upotrebe
Nije za upotrebu
| min. Temp. | max. Temp. | max. Speed | max. Pressure | Material | |
|---|---|---|---|---|---|
| -200 °C | +200 °C | 10 m/s | PTFE pure | ||
| -200 °C | +200 °C | 10 m/s | PTFE 1 glass | ||
| -200 °C | +200 °C | 10 m/s | PTFE 2 bronze | ||
| -200 °C | +200 °C | 10 m/s | PTFE carbon | ||
| min. Temp. | max. Temp. | max. Speed | max. Pressure | Material | |
| -200 °C | +200 °C | 10 m/s | PTFE turq | ||
| -200 °C | +200 °C | 10 m/s | PTFE glass | ||
| -200 °C | +200 °C | 10 m/s | PTFE graphite | ||
| -200 °C | +200 °C | 10 m/s | PTFE ekonol | ||
| -40 °C | +130 °C | 0.5 m/s | HPU D55° | ||
*Materijali
- PTFE/NBR
*Dimenzije
- L1
- L2
- L2
- ∅ d1
- ∅ D2
- ∅ D1
*Količina
- /



Nazad
ROTBAN - KATALOG HIDRAULIČNIH BRTAVA > preuzeti




