• Brisač - DA 103
Uloga hidrauličnih brisača je spriječiti ulazak tvrdih čestica nečistoče u hidraulične i pneumatične naprave kao što su cilindri ili ventili.Da bi se spriječio gubitak snage u tlačnom mediju, oštećenje brtve i pokretnih površina ili vodećih osovina.

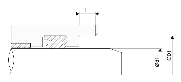
Brisač sa čahurom za uprešanje u aksijalno otvorene ugradbene prostore. Izvedba ruba brisača omogućava pouzdanu zaštitu od ulaska prašine i nečistoća u cilindar. Sastoji se od poliuretanskog brisača i metalne košuljice koja se uprešava sa brisačem u otvoreni ugradbeni prostor.
Uloga hidrauličnih brisača je spriječiti ulazak tvrdih čestica nečistoče u hidraulične i pneumatične naprave kao što su cilindri ili ventili.


hidraulični brisač da103
  • Primarna upotreba
  • Krajnja granica upotrebe
  • Nije za upotrebu
min. Temp. max. Temp. max. Speed max. Pressure Material
-20 °C +115 °C 0,4 m/s HPU 94° POM/PTFE/STEEL
-20 °C +115 °C 0,4 m/s HPU 55° D POM/PTFE/STEEL
-50 °C +115 °C 0,5 m/s SL-PU 94° POM/PTFE/STEEL
-50 °C +115 °C 0,4 m/s LT-PU 94° POM/PTFE/STEEL
min. Temp. max. Temp. max. Speed max. Pressure Material
-30 °C +110 °C 0,5 m/s NBR 85° POM/PTFE/STEEL
-20 °C +150 °C 0,4 m/s H-NBR 85° POM/PTFE/STEEL
-20 °C +220 °C 0,5 m/s FPM 82° POM/PTFE/STEEL
-45 °C +130 °C 0,4 m/s EPDM 85° POM/PTFE/STEEL
-60 °C +200 °C 0,4 m/s MVQ 85° POM/PTFE/STEEL
shema utora hidrauličnog brisača

*Materijali

  • HPU/FE

*Dimenzije

  •     L1
  • ∅ d1
  • ∅ D1

*Količina

  • /